Tìm hiểu về hệ thống cửa sổ trời
Thứ Ba, 06/01/2026 - 16:44 - ducht
1. Tổng quan hệ thống cửa sổ trời
Hệ thống cửa sổ trời (Sliding Roof System) là một hệ thống cơ–điện tử được thiết kế nhằm nâng cao sự thoải mái, thông thoáng và trải nghiệm cao cấp cho người sử dụng trong khoang cabin.
Hệ thống cho phép người lái và hành khách điều khiển việc mở, đóng hoặc nâng/hạ tấm kính cửa sổ trời thông qua nhiều chế độ vận hành khác nhau, bao gồm vận hành bằng tay, vận hành tự động một chạm, vận hành liên kết với chìa khóa cơ, và mở cửa sổ trời bằng tín hiệu từ remote.
Cửa sổ trời sử dụng một mô tơ DC đảo chiều kết hợp với ECU chuyên dụng (Sliding Roof ECU) để thực hiện các chức năng trượt (slide) hoặc nghiêng (tilt). ECU điều khiển mô-tơ theo nhiều chiến lược khác nhau, bao gồm điều khiển thời gian nhấn công tắc, tốc độ quay mô-tơ, phát hiện lực phản hồi, và bảo vệ an toàn chống kẹt.
Hệ thống còn tích hợp cơ chế ghi nhớ vị trí, xác định điểm chuẩn (initialization) và tự động dừng mô-tơ khi đến giới hạn hành trình.
Ngoài các thao tác cơ bản, hệ thống cửa sổ trời còn được trang bị nhiều tính năng hỗ trợ người dùng:
- Chức năng mở/đóng bằng tay (Manual operation): Người dùng nhấn giữ công tắc để điều khiển cửa sổ trời di chuyển đến khi thả công tắc.
- Chức năng tự động một chạm (One-touch auto): Chỉ cần nhấn công tắc trong thời gian ngắn (≥ 0.3 giây), cửa sổ trời sẽ tự động hoàn thành hành trình mở hoặc đóng mà không cần giữ công tắc.
- Chức năng nâng/hạ (Manual/Auto Tilt): Cho phép tấm kính nâng một phần để thông gió hoặc hạ xuống hoàn toàn.
- Chức năng chống kẹt (Jam protection): ECU theo dõi điện áp/tốc độ mô-tơ để phát hiện vật cản và lập tức đảo chiều mô-tơ nhằm đảm bảo an toàn cho hành khách.
- Vận hành khi chìa khóa OFF (Key-off operation): Cho phép tiếp tục sử dụng cửa sổ trời khoảng 43 giây sau khi tắt khóa điện, miễn là cửa xe chưa được mở.
- Liên kết với chìa khóa cơ (Key-linked open/close): ECU điều khiển cửa sổ trời dựa trên thời gian giữ chìa khóa ở vị trí LOCK hoặc UNLOCK.
- Liên kết với tín hiệu remote (Transmitter-linked operation): Khi remote phát tín hiệu mở khóa kéo dài, cửa sổ trời sẽ tự mở theo cấu hình hệ thống.
Toàn bộ các bộ phận như motor drive, cảm biến điểm chạm, công tắc điều khiển và bộ chẩn đoán đều được tích hợp trong hệ thống ECU nhằm đảm bảo hoạt động chính xác, an toàn và đáp ứng tiêu chuẩn tiện nghi cao cấp trên các dòng xe hiện đại.
2. Cấu tạo của hệ thống cửa sổ trời


Hệ thống cửa sổ trời bao gồm tổ hợp các bộ phận cơ khí, điện – điện tử, cảm biến và mạch điều khiển nhằm điều khiển việc trượt và nâng/hạ tấm kính cửa sổ trời. Các thành phần chính được bố trí như sau:
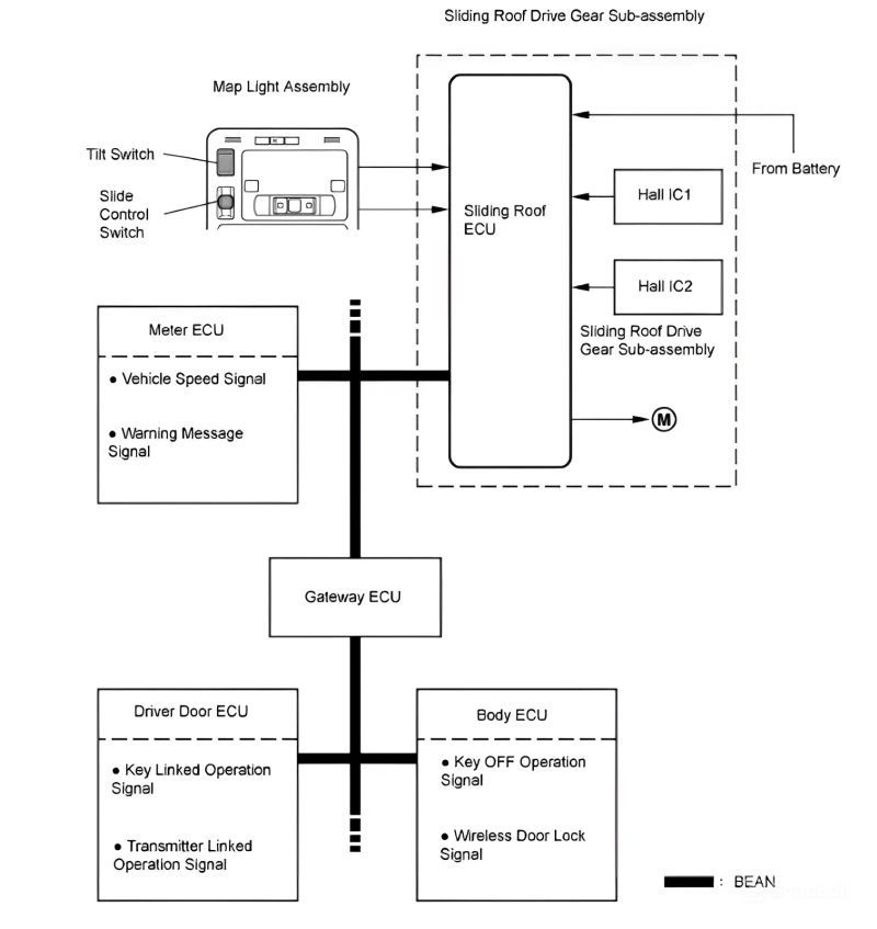
2.1 Sliding Roof Drive Gear Sub-Assembly
Là cụm mô tơ truyền động của cửa sổ trời.
Bên trong gồm: Mô tơ DC đảo chiều, hộp giảm tốc, cụm bánh răng dẫn động
Có nhiệm vụ: Trượt tấm kính về phía sau (slide open), trượt đóng về phía trước (slide close), Nâng/hạ tấm kính (tilt up/down) bằng cơ cấu cam – thanh trượt.
2.2 Sliding Roof ECU (Bộ điều khiển ECU cửa sổ trời)
Tích hợp ngay trong cụm truyền động.
Điều khiển mô-tơ dựa trên: Tín hiệu từ công tắc trượt/nâng, tín hiệu chống kẹt (jam detection), tín hiệu từ body ECU và multiplex network, ECU điều khiển tốc độ, đảo chiều và giới hạn hành trình mô tơ.
Chịu trách nhiệm quản lý tính năng: One-touch open/close, Key-off operation, Jam protection, Key-linked & transmitter-linked functions.
2.3 Sliding Roof Housing (Khung bao cửa sổ trời)
Là bộ khung cố định gắn trên nóc xe.
Chứa toàn bộ các thành phần cơ khí như: Ray trượt trái/phải, giá đỡ mô tơ, Cơ cấu nâng (tilt mechanism) là nơi gắn tấm kính cửa sổ trời và các gioăng chống nước.
2.4 Sliding Roof Switch Assembly (Công tắc điều khiển cửa sổ trời)
Lắp đặt trong cụm đèn trần (Map light assembly).
Bao gồm các nút: Slide Open, Slide Close, Tilt Up, Tilt Down Gửi tín hiệu điều khiển về Sliding Roof ECU.


2.5 Map Light Assembly (Cụm đèn trần)
Là vị trí gắn công tắc điều khiển cửa sổ trời. Truyền tín hiệu qua dây dẫn đến Junction Block và ECU cửa sổ trời.
2.6 Front Door Courtesy Light Switch (Công tắc cửa tài xế)
Nhận biết trạng thái cửa bên tài.
Tín hiệu liên quan đến: Key-off operation (hoạt động cửa sổ trời sau khi tắt khóa 43 giây), Key-linked open/close, ECU dùng tín hiệu này để xác định điều kiện vận hành hợp lệ.
2.7 Instrument Panel Junction Block Assembly (Hộp cầu chì trong xe)
Chứa các cầu chì và bộ điều khiển mạng multiplex hoặc hộp BCM.
2.8 FL Block Assembly (Hộp cầu chì khoang động cơ)
Cung cấp nguồn chính từ ắc quy đến các Junction Block và ECU.
Đảm bảo hệ thống cửa sổ trời hoạt động ổn định ngay cả khi tải điện lớn.
3. Nguyên lý hoạt động
3.1 Mở và đóng bằng tay (Manual open-and-close)
Chức năng này cho phép cửa sổ trời mở hoặc đóng khi giữ công tắc SLIDE OPEN hoặc SLIDE CLOSE tối đa 0.3 giây.
Cửa sổ trời dừng ngay khi người dùng thả công tắc.
3.2 Mở và đóng tự động một chạm (One-touch auto open-and-close)
Cửa sổ trời sẽ mở hoặc đóng hoàn toàn khi nhấn công tắc SLIDE OPEN hoặc SLIDE CLOSE tối thiểu 0.3 giây.
Hệ thống tự thực hiện đến khi hết hành trình.
3.3. Nâng/hạ bằng tay (Manual tilt up-and-down)
Cửa sổ trời sẽ nâng lên hoặc hạ xuống khi giữ công tắc TILT UP hoặc TILT DOWN tối đa 0.3 giây.
Cửa sổ trời dừng lại khi thả công tắc.
3.4 Nâng/hạ tự động một chạm (One-touch auto tilt up-and-down)
Cửa sổ trời sẽ nâng tối đa hoặc hạ hoàn toàn khi nhấn công tắc TILT UP hoặc TILT DOWN tối thiểu 0.3 giây.
3.5 Chức năng chống kẹt (Jam protection)
Trong quá trình auto slide hoặc auto tilt, nếu phát hiện vật cản kẹt trong cơ cấu cửa sổ trời,
→ Hệ thống ngừng ngay lập tức.
→ Sau đó đảo chiều (thu lại một đoạn hoặc hạ xuống) để tránh gây thương tích.
3.6 Vận hành khi chìa khóa OFF (Key-off operation)
Cho phép sử dụng cửa sổ trời khoảng 43 giây sau khi khóa điện được chuyển về ACC hoặc OFF, miễn là cửa xe chưa được mở.
3.7 Chức năng mở/đóng liên kết với chìa khóa cơ (Key-linked open-and-close)
Khi cửa tài xế bị khóa và chìa được giữ ở vị trí LOCK trên 1.5 giây, ECU kích hoạt mô-tơ để đóng cửa sổ trời.
Khi cửa tài được mở khóa và chìa giữ ở vị trí UNLOCK trên 1.5 giây, ECU sẽ mở cửa sổ trời.
3.8 Chức năng mở liên kết với remote (Transmitter-linked open function)
Khi body ECU nhận tín hiệu unlock liên tục từ remote trong hơn 2.5 giây, ECU cửa sổ trời sẽ điều khiển cửa sổ trời mở theo tín hiệu.
4. Sơ đồ mạch điện


5. Kiểm tra
5.1 Kiểm tra hoạt động tự động (check auto operation)
a. Bật khóa điện lên vị trí ON (IG).
b. Khi kính cửa sổ trời đang đóng hoàn toàn, nhấn công tắc SLIDE OPEN trong 0,3 giây hoặc lâu hơn.
→ Kiểm tra rằng kính cửa sổ trời tự động trượt mở đến khi mở hoàn toàn.
c. Khi kính cửa sổ trời đang mở hoàn toàn, nhấn công tắc SLIDE CLOSE trong 0,3 giây hoặc lâu hơn.
→ Kiểm tra rằng kính cửa sổ trời tự động trượt đóng đến khi đóng hoàn toàn.
d. Khi kính cửa sổ trời đóng hoàn toàn, nhấn công tắc TILT UP trong 0,3 giây hoặc lâu hơn.
→ Kiểm tra rằng kính tự động nâng lên hoàn toàn.
e. Khi kính cửa sổ trời mở hoàn toàn, nhấn công tắc TILT DOWN trong 0,3 giây hoặc lâu hơn.
→ Kiểm tra rằng kính tự động hạ xuống hoàn toàn.
f. Trong khi cửa sổ trời đang hoạt động ở chế độ tự động (auto), kiểm tra rằng việc nhấn bất kỳ công tắc đèn trần nào (personal light switch) sẽ dừng ngay lập tức hoạt động của cửa sổ trời.
GỢI Ý (HINT): Nếu nhấn công tắc ≤ 0,3 giây, kính cửa sổ trời chỉ di chuyển theo chế độ manual và không kích hoạt auto.
5.2 Kiểm tra hoạt động cửa sổ trời sau khi tắt khóa điện
a. Tắt khóa điện từ ON (IG) về OFF, sau đó kiểm tra xem cửa sổ trời vẫn có thể hoạt động. Tiếp theo, mở rồi đóng cửa người lái một lần, rồi kiểm tra rằng cửa sổ trời không còn hoạt động.
b. Tắt khóa điện từ ON (IG) về OFF và chờ khoảng 45 giây. → Kiểm tra rằng cửa sổ trời không hoạt động nữa.
c. Trong khi cửa sổ trời đang hoạt động ở chế độ auto (SLIDE OPEN/CLOSE hoặc TILT UP/DOWN), hãy tắt khóa điện từ ON (IG) về OFF. → Kiểm tra rằng hoạt động auto vẫn tiếp tục cho đến khi cửa sổ trời mở hoặc đóng hoàn toàn.
5.3 Kiểm tra chức năng chống kẹt (check jam protection function)
Cảnh báo (caution):
- Không sử dụng bất kỳ bộ phận cơ thể nào, ví dụ như bàn tay, để kiểm tra chức năng chống kẹt.
- Không để bất kỳ vật gì bị kẹt ngoài ý muốn trong cửa sổ trời trong quá trình kiểm tra.
- Thực hiện kiểm tra từ bên trong xe để đảm bảo an toàn.
Chú ý (notice): Không sử dụng vật cứng như búa để tránh làm hỏng kính cửa sổ trời.
Nếu chức năng chống kẹt không hoạt động, hãy reset mô-tơ truyền động cửa sổ trời (sliding roof drive gear / motor).
a. Khi cửa sổ trời đang hoạt động ở chế độ tự động (auto slide) và có vật cản bị kẹt giữa thân xe và kính cửa sổ trời, hãy kiểm tra:
- Kính cửa sổ trời phải tự động mở ngược lại một đoạn 218 mm (8.58 in.) tính từ điểm tiếp xúc với vật cản, hoặc kính sẽ mở hết hành trình nếu không đủ khoảng cách để mở 218 mm.
- Nói cách khác: khi phát hiện kẹt → hệ thống phải đảo chiều mở ra ít nhất 218 mm để đảm bảo an toàn.
b. Khi chức năng TILT UP / TILT DOWN đang hoạt động và có vật cản giữa thân xe và kính cửa sổ trời: Kiểm tra rằng hệ thống ngừng ngay lập tức và cửa sổ trời ngẩng lên hoàn toàn để tránh kẹt.
5.4 Kiểm tra hoạt động không dây (check wireless operation)
Gợi ý (Hint): Chức năng điều khiển không dây của cửa sổ trời có thể được tùy chọn để thực hiện chế độ trượt (slide) hoặc chế độ nâng (tilt) khi dùng remote.
a. Đóng tất cả các cửa của xe.
b. Nhấn và giữ nút UNLOCK trên remote khoảng 4 giây hoặc lâu hơn
→ Kiểm tra rằng cửa sổ trời bắt đầu trượt mở hoặc nâng lên (SLIDE OPEN / TILT UP).
Khi nhả nút UNLOCK:
→ Kiểm tra rằng cửa sổ trời ngừng ngay lập tức.
c. Nhấn và giữ nút LOCK trên remote khoảng 4 giây hoặc lâu hơn
→ Kiểm tra rằng cửa sổ trời bắt đầu trượt đóng hoặc hạ xuống (SLIDE CLOSE / TILT DOWN).
Khi nhả nút LOCK:
→ Kiểm tra rằng cửa sổ trời dừng ngay lập tức.
5.5 Kiểm tra chức năng liên kết với chìa khóa (driver\’s door only)
Gợi ý (Hint): Chức năng liên kết với chìa khóa có thể được tùy chỉnh để thực hiện trượt (slide) hoặc nâng (tilt) cửa sổ trời khi xoay chìa khóa.
a. Cắm chìa khóa vào ổ khóa cửa bên tài.
Xoay chìa khóa sang vị trí UNLOCK và giữ trong khoảng 2,5 giây hoặc lâu hơn.
→ Kiểm tra rằng cửa sổ trời bắt đầu trượt mở hoặc nâng lên (SLIDE OPEN / TILT UP).
Sau đó thả chìa khóa.
→ Kiểm tra rằng cửa sổ trời ngừng ngay lập tức.
b. Cắm chìa khóa vào ổ khóa cửa bên tài.
Xoay chìa khóa sang vị trí LOCK và giữ trong 2,5 giây hoặc lâu hơn.
→ Kiểm tra rằng cửa sổ trời bắt đầu trượt đóng hoặc hạ xuống (SLIDE CLOSE / TILT DOWN).
Sau đó thả chìa khóa.
→ Kiểm tra rằng cửa sổ trời ngừng ngay lập tức.
5.6 Kiểm tra hoạt động liên kết với công tắc khóa entry (check entry lock switch – linked operation)
a. Đóng tất cả các cửa xe, mở kính cửa sổ trời và kiểm tra rằng chìa khóa không ở trong xe.
b. Khi công tắc khóa entry trên tay nắm cửa ngoài cửa trước bên trái (LH) được nhấn và giữ khoảng 4 giây hoặc lâu hơn:
→ Kiểm tra rằng kính cửa sổ trời bắt đầu đóng lại.
Đồng thời, khi nhả công tắc khóa entry, hãy kiểm tra rằng cửa sổ trời ngừng hoạt động ngay lập tức.
Trên đây là toàn bộ thông tin về chủ đề hệ thống cửa sổ trời mà trung tâm Oto365.net muốn gửi đến bạn. Hy vọng bài viết này sẽ bổ ích và hữu dụng với bạn.
Bài liên quan
Tin cũ hơn
Mo men xoắn động cơ là gì? Thông số này có ý nghĩa gì tới công suất động cơ?
Quy trình xóa bộ nhớ tạm của hộp điều khiển hộp số
Tìm hiểu về góc camber và chức năng của góc camber
Cách ngăn trộm xe công nghệ cao chỉ với giấy bạc
Ứng dụng điện thoại giải mã mọi biểu tượng trên bảng điều khiển ô tô
Người dùng điện thoại iPhone sử dụng hệ điều hành Apple iOS 17 trở lên sắp có một ứng dụng để giải mã biểu tượng trên xe.
Có thể bạn quan tâm
-
Mạch sạc xả và bảo vệ pin có hiển thị phần trăm pinMạch sạc xả và bảo vệ pin có hiển thị phần trăm pin giúp theo dõi dung lượng pin chính xác và tăng độ an toàn khi sử dụng. Tìm hiểu ngay! -
Sự khác nhau giữa bướm ga trên động cơ Diesel với bướm ga máy xăngTìm hiểu chi tiết về sự khác nhau giữa bướm ga trên động cơ Diesel với bướm ga máy xăng qua bài viết kỹ thuật sau đây của trung tâm VATC. -
Pin Lithium là gì? Các loại Pin Lithium và cấu tạo của nóPin Lithium là nguồn năng lượng quan trọng trong các thiết bị di động và đặc biệt là xe điện nhờ ưu điểm dung lượng lớn, sạc nhanh và tuổi thọ cao. Tuy nhiên, không phải ai cũng hiểu rõ cấu tạo, nguyên lý hoạt động cũng như vai trò của loại pin này trong ngành ô tô hiện đại. Bài viết sẽ giải thích chi tiết để bạn có cái nhìn toàn diện hơn. -
Tìm hiểu về piston (pít-tông) động cơ trên ô tôPiston động cơ là một bộ phận quan trọng trong buồng đốt, chịu trách nhiệm truyền lực từ quá trình cháy nổ đến trục khuỷu. Tìm hiểu chi tiết ngay! -
5 Triệu Chứng Bộ Lọc Nhiên Liệu Hư Hỏng Rõ RệtBộ lọc nhiên liệu hỏng? 5 triệu chứng rõ rệt: khó khởi động, hụt hơi, yếu máy. Phát hiện sớm để tránh hư hỏng bơm nhiên liệu.
Bình luận